- Sony has published a new patent that discusses adding AI ghost players in games for real-time gameplay assistance.
- The patent argues that ghost avatars in titles should not reflect past gameplay, but instead provide real-time assistance.
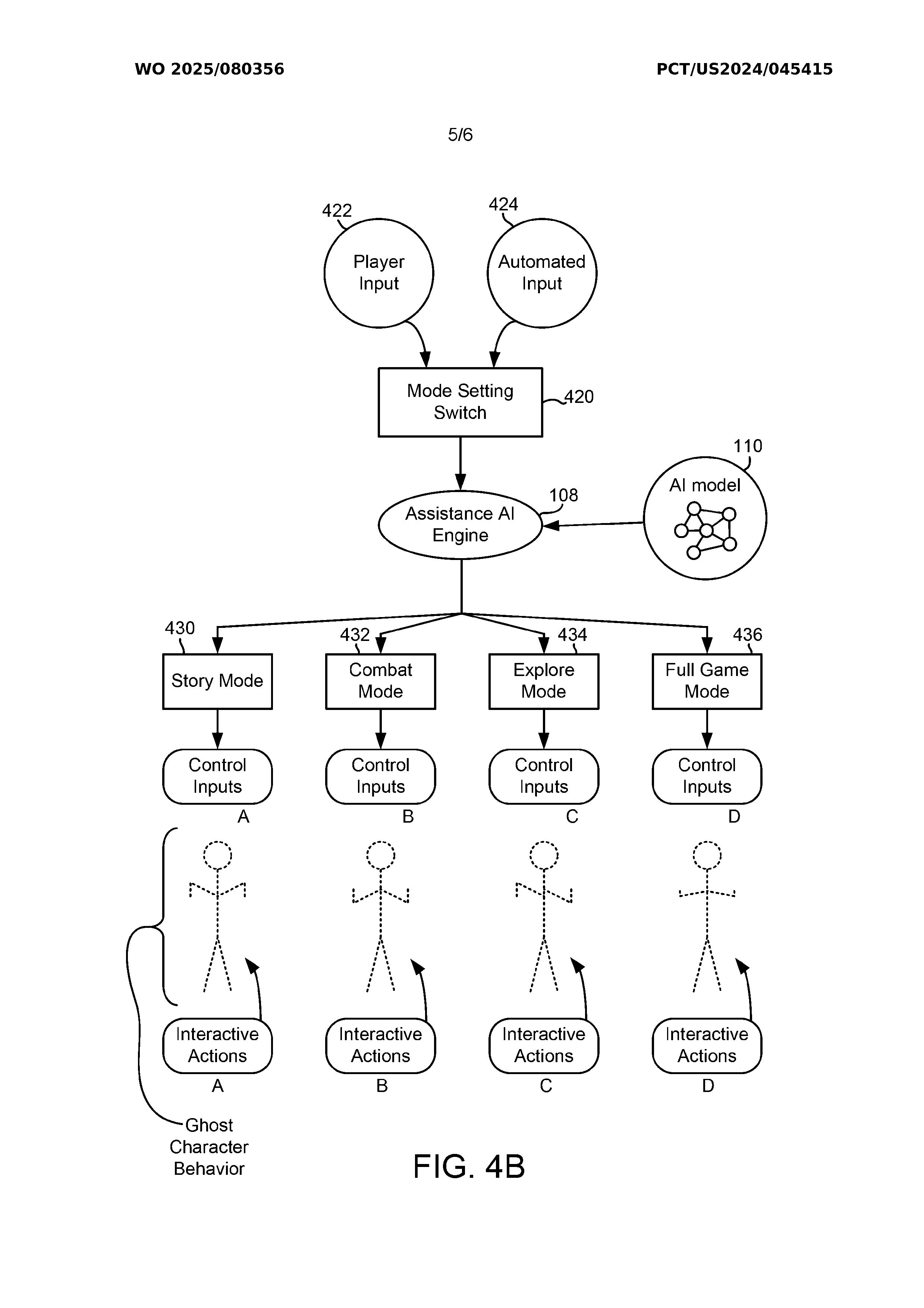
- The AI ghost character can provide varying levels of assistance, depending on the selected mode, to maintain immersion.
Helping players in-game is important to maintain immersion. Now, with advancements in AI over the past few years, Sony may be on the verge of revolutionizing how tutorials and player assistance are implemented in titles.
We’ve uncovered a new Sony patent that explores the creation of AI ghost players for real-time and dynamic gameplay assistance. These ghosts are not shadows of past attempts by players, whose past progress is briefly shown, as in current Souls-like or racing titles.
Instead, Sony suggests transforming these ghost characters into AI helpers that assist players with puzzles, obstacles, and combat.
The ghost character can therefore be controlled by the assistance Al engine during gameplay and provide the player with visual illustrations of how certain game scenarios are played in order for the character controlled by the player to be able to achieve progress in the game.
Why it matters: Sony’s new patent could significantly alter how players experience and learn games due to its dynamic and real-time AI assistance.

The patent, dubbed ‘AI-Generated Ghost Player,’ discusses analyzing live gameplay and allowing a ghost player to provide context-aware assistance tailored to help a player resolve their current dilemma. The user can also chat with the AI ghost using natural language.
The AI engine used by the ghost character is trained using gameplay footage of various players to understand game mechanics and objectives.
Sony argues that players can always research solutions online, but this breaks immersion. Additionally, the current implementation of ghosts in games is limited to a few moments of past player attempts being reflected on the screen.
Players are able to do research for the game or even lookup prior gameplays on internet sites, but that process is time consuming and many times not very relevant to tasks and/or scenarios currently being encountered by the player.

The AI ghost character comes with different modes, allowing the user to select existing ones or create a custom mode to ensure that only limited or appropriate help is provided, thereby avoiding immersion-breaking assistance.
Sony has also secured a slew of other notable patents over the years, including one for penalizing players in multiplayer games who have outstanding skills or a platform advantage, and another for haptic gloves that can simulate real-life sensations and temperatures.
Do you think having an AI ghost assistant will make the gameplay more interesting, or would this feature detract from gameplay immersion instead? Let us know your thoughts in the comments below, or join the discussion on the Tech4Gamers forum.
Thank you! Please share your positive feedback. 🔋
How could we improve this post? Please Help us. 😔
Shameer Sarfaraz has previously worked for eXputer as a Senior News Writer for several years. Now with Tech4Gamers, he loves to devoutly keep up with the latest gaming and entertainment industries. He has a Bachelor’s Degree in Computer Science and years of experience reporting on games. Besides his passion for breaking news stories, Shahmeer loves spending his leisure time farming away in Stardew Valley. VGC, IGN, GameSpot, Game Rant, TheGamer, GamingBolt, The Verge, NME, Metro, Dot Esports, GameByte, Kotaku Australia, PC Gamer, and more have cited his articles.


