- Sony has published a new patent that wants to nerf or buff players based on the platforms they use while playing multiplayer games.
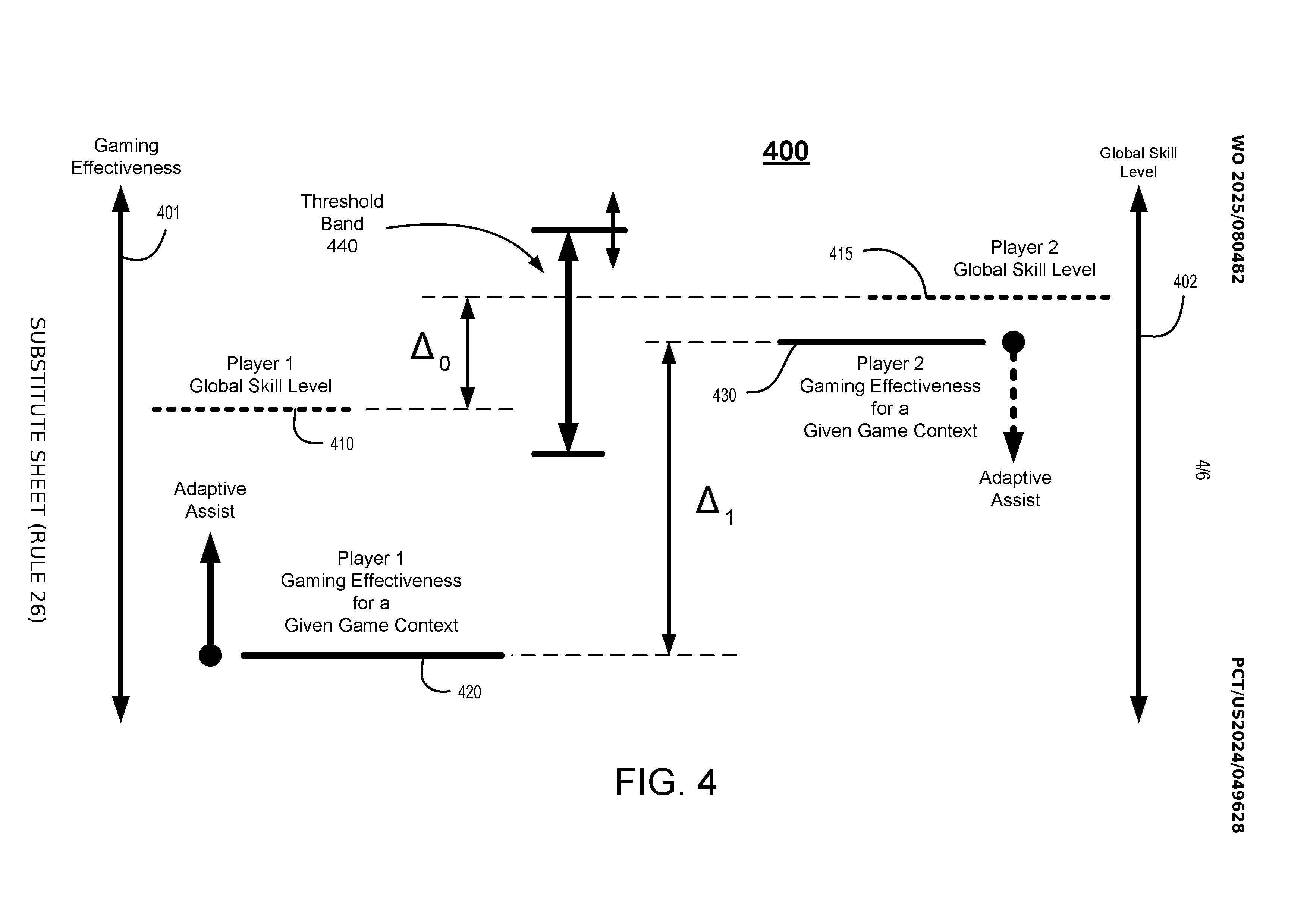
- A player with outstanding skills can also have their movement or other gameplay mechanics nerfed to make it a fair experience.
- Likewise, a player with a platform disadvantage may be given a boost to compete with others on a similar playing field.
Making multiplayer games fair for everyone has always been challenging for studios, as factors such as platforms, skill levels, and internet connections can significantly impact gameplay. However, Sony might have found a unique and controversial solution to this dilemma.
We’ve stumbled upon a new Sony patent that aims to ensure everyone enjoys a multiplayer title on a level playing field. To achieve that, the company can nerf players with a platform advantage or outstanding skills over others and vice versa.
On a similar note, players with a platform disadvantage or inferior skills compared to the average gamer can be adjusted to provide a fair experience during gameplay.
In particular, a technical solution is implemented to reduce and/or remove advantages or disadvantages experienced in a game play of a video game created through cross platform play by players in a gaming session.
Why it matters: Sony’s new patent aims to create a fair multiplayer gaming experience for everyone. However, buffing or nerfing certain players because of their skill levels or platforms during gameplay might backfire.

The patent, dubbed ‘CROSS-PLATFORM PLAY WITH REAL-TIME AUGMENTATION FOR MAINTAINING AN EVEN PLAYING FIELD BETWEEN PLAYERS,’ clarifies that a player may have a technical advantage over others based on their platform.
For example, a PS5 user enjoying a cross-platform game with a controller can move much better than a mobile player with touch inputs. So, Sony may nerf the console user by giving them a slower movement speed to help mobile gamers have a fair experience.
Similarly, a highly skilled gamer with faster reactions and better accuracy can be nerfed to match the average skill level in the lobby.
When players are playing a video game in a multi-player mode, players playing on devices of one platform may have an advantage or disadvantage when interacting with the video game over players playing on devices of another platform.

According to the patent, these changes can occur in real-time using AI during gameplay to ensure that multiplayer matches are fair and engaging for every player. Nerfing skilled players or those on other platforms is a controversial move, so how Sony handles it remains to be seen.
Sony has also published numerous other unique patents over the years, including one for haptic gloves that can simulate real-life sensations and temperatures, and another for a durable controller designed for longer lifespans with magnetic buttons.
Do you think Sony will add this system in the future to nerf or buff players in multiplayer games based on their skills and platforms? Let us know your thoughts in the comments below, or join the discussion on the Tech4Gamers forum.
Thank you! Please share your positive feedback. 🔋
How could we improve this post? Please Help us. 😔
Shameer Sarfaraz has previously worked for eXputer as a Senior News Writer for several years. Now with Tech4Gamers, he loves to devoutly keep up with the latest gaming and entertainment industries. He has a Bachelor’s Degree in Computer Science and years of experience reporting on games. Besides his passion for breaking news stories, Shahmeer loves spending his leisure time farming away in Stardew Valley. VGC, IGN, GameSpot, Game Rant, TheGamer, GamingBolt, The Verge, NME, Metro, Dot Esports, GameByte, Kotaku Australia, PC Gamer, and more have cited his articles.


