- A new Nvidia patent aims to predict and allocate CPU and GPU resources in advance to enhance system performance.
- The system builds a custom model for each user and application to forecast future demand.
- These predictions help systems allocate resources more efficiently, reducing lag and system bottlenecks.
The battle to deliver system resources to needed applications in the best manner has always been a battle for PCs. Many algorithms are used to optimize system performance, but Nvidia might have cracked the code with a new, effective model.
We have found a new Nvidia patent that discusses predicting and allocating CPU and GPU resources before the system or games need them. It proposes building an AI-based custom model for each user and application to anticipate future demands.
The popular models either rely on current usage or historical averages, which are often inadequate due to slow and inaccurate resource allocations. However, predicting and allocating these resources in advance improves efficiency and reduces system overloads.
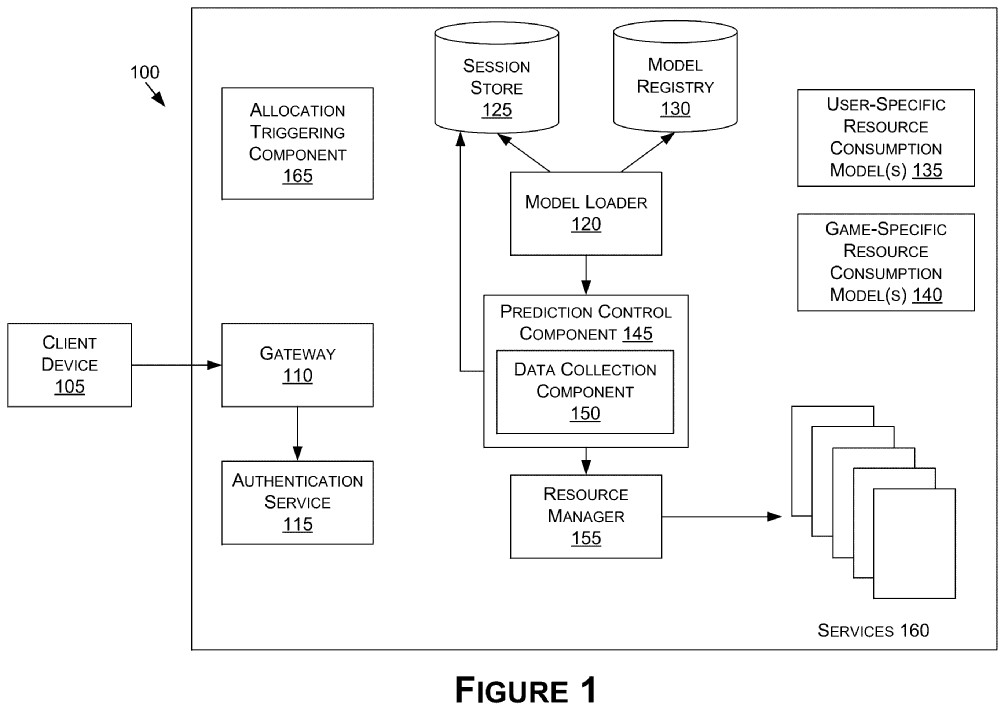
each […] user-specific resource consumption model […] predicts a measure of that application user’s anticipated resource consumption at some future time (e.g., in 3 seconds, 5 minutes). […] As such, user and/or application models may be used to predict resource demands at a future time and reallocate resources accordingly.
Why it matters: Nvidia may push computer performance to a whole new level by making the system predict and allocate resources ahead of time. This would massively improve gaming and other high-performance tasks.

The patent called ‘SCHEDULING AND RESOURCE MANAGEMENT BASED ON APPLICATION PROFILING’ describes building custom resource consumption models using AI that predict how much computing power will be needed in the next few seconds or minutes.
Each profile evolves based on user behavior and game or app state; for example, a game level requiring a specific amount of resources would already have those allocated ahead of time to ensure smooth gameplay.
Nvidia argues that current resource allocation techniques can’t meet system demands, leading to performance loss. It can also cause lag spikes and frame rate drops in games.
[cURRENT] resource allocation techniques can result in inefficient resource allocation [aND] reduced system performance, […]. As such, there is a need for improved demand modeling and resource allocation techniques.

The patent focuses on cloud-hosted applications (like GeForce Now), but it also indirectly discusses predicting and allocating resources for local apps based on player behavior and game data. If realized, it would improve AAA gaming performance by a mile.
Nvidia has published many unique patents before, like one about smarter ray-traced shadows and lighting to reduce GPU load and improve gaming performance, and another one about improving GPU buffer memory to improve gaming performance.
Do you think Nvidia patenting a system to predict and allocate CPU & GPU resources in advance will massively improve system performance? Let us know your thoughts in the comments below, or join the discussion on the Tech4Gamers forum.
Thank you! Please share your positive feedback. 🔋
How could we improve this post? Please Help us. 😔
Shameer Sarfaraz has previously worked for eXputer as a Senior News Writer for several years. Now with Tech4Gamers, he loves to devoutly keep up with the latest gaming and entertainment industries. He has a Bachelor’s Degree in Computer Science and years of experience reporting on games. Besides his passion for breaking news stories, Shahmeer loves spending his leisure time farming away in Stardew Valley. VGC, IGN, GameSpot, Game Rant, TheGamer, GamingBolt, The Verge, NME, Metro, Dot Esports, GameByte, Kotaku Australia, PC Gamer, and more have cited his articles.
Threads

