- AMD has patented an L2 cache stacking technology following the L3.
- The tech aims to deliver even better performance and improved latency, which could be ideal for gaming.
- It is expected to debut with AMD Zen 7 3D v-cache CPUs, scheduled for release in 2028.
AMD debuted its 3D V-cache technology back in 2022 with the Ryzen 7 5800X3D. What it essentially did was vertically stack the L3 cache memory directly on top of the CPU cores. It resulted in big performance gains, especially in gaming.
The company is now looking to further evolve its technology, having patented L2 cache stacking technology that could debut with Zen 7 3D V-cache processors. With this, AMD could further strengthen its position in the gaming department.
Why it matters: Stacking L3 cache already gave a significant performance boost; if AMD does the same with L2 cache, it could deliver even greater performance and lower latency.

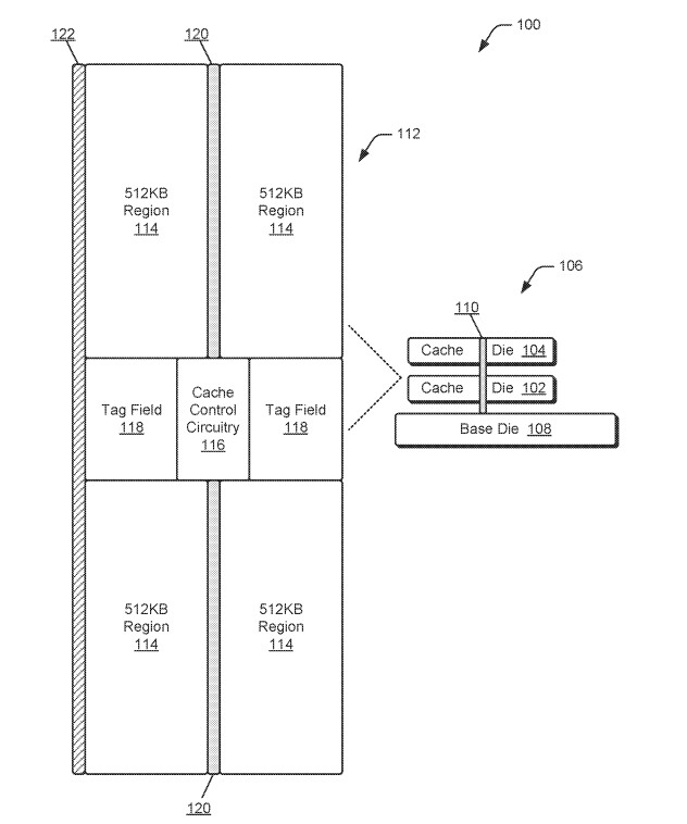
According to the patent, the L2 cache comprises a cache module with 4 512KB regions, equipped with a Cache Control Circuitry. The cache module has a capacity of 2MB, which can be increased to 4MB if required.
A typical non-stacked L2 cache has 1MB capacity and a latency of 14 cycles; with the new stacked tech, the latency will drop to 12 cycles. This is due to a shorter data movement path resulting from a more packed arrangement.
The patent also shows another stacking method: a dedicated cache die featuring both L2 and L3 segments, bonded to a core-only base die to expand the capacity of both memory levels simultaneously.

AMD further says that with this, the 3D V-cache technology could finally come to GPUs as well. For now, it is just restricted to the X3D processors. With the proposed improvements, this tech could be a game-changer.
What are your thoughts on AMD patenting its next L2 stacking technology for 3D V-cache CPUs? Let us know your opinions in the comments or join the discussion at the official Tech4Gamers Forum.
Thank you! Please share your positive feedback. 🔋
How could we improve this post? Please Help us. 😔
News Reporter
Abdullah is an avid gamer who primarily plays single-player titles. If you can’t find him anywhere, he’ll probably be at his desk playing The Witcher 3 for the millionth time. When he isn’t playing games, he’s either reading or writing about them.


