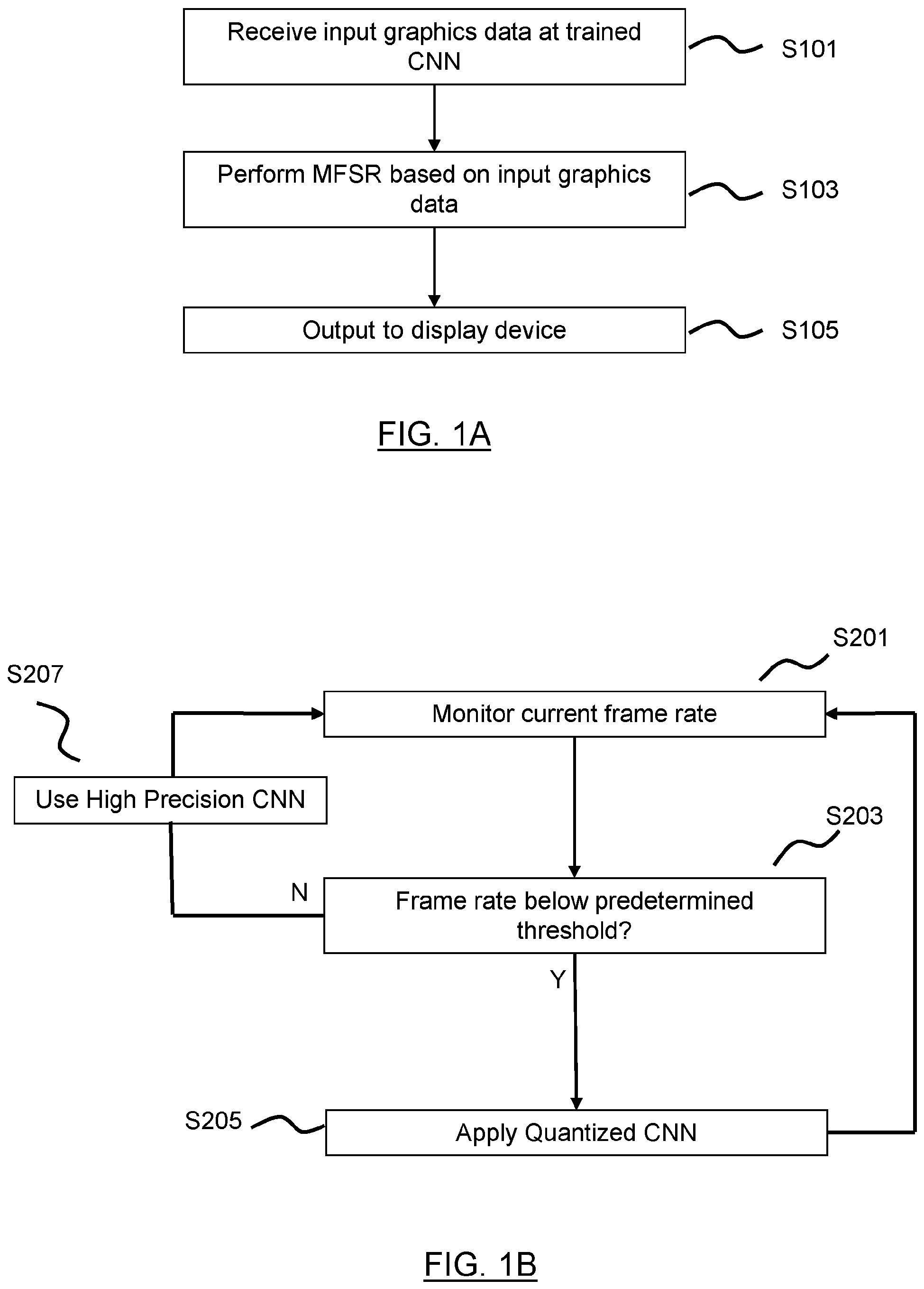
- Sony discusses a new PSSR upgrade that enables it to switch between different CNN precisions in real time.
- This change would allow PSSR to avoid more severe fallbacks, such as FPS drops or reduced internal resolution.
- PSSR could use lower CNN precision at high load levels without affecting gameplay.
Whether we like it or not, software solutions such as upscalers have become critical to achieving great visuals and performance in AAA games. Sony has been among the frontrunners, with its collaboration on FSR 4 and its proprietary PSSR advancing the field.
We have identified a new Sony patent outlining a groundbreaking MFSR for its PSSR upscaler, addressing some of its most significant issues.
During heavy gaming loads, PSSR is often forced to make noticeable compromises, such as reduced internal resolution or FPS drops, which degrade the player experience. The publisher wants to avoid these fallbacks by using real-time quantization.
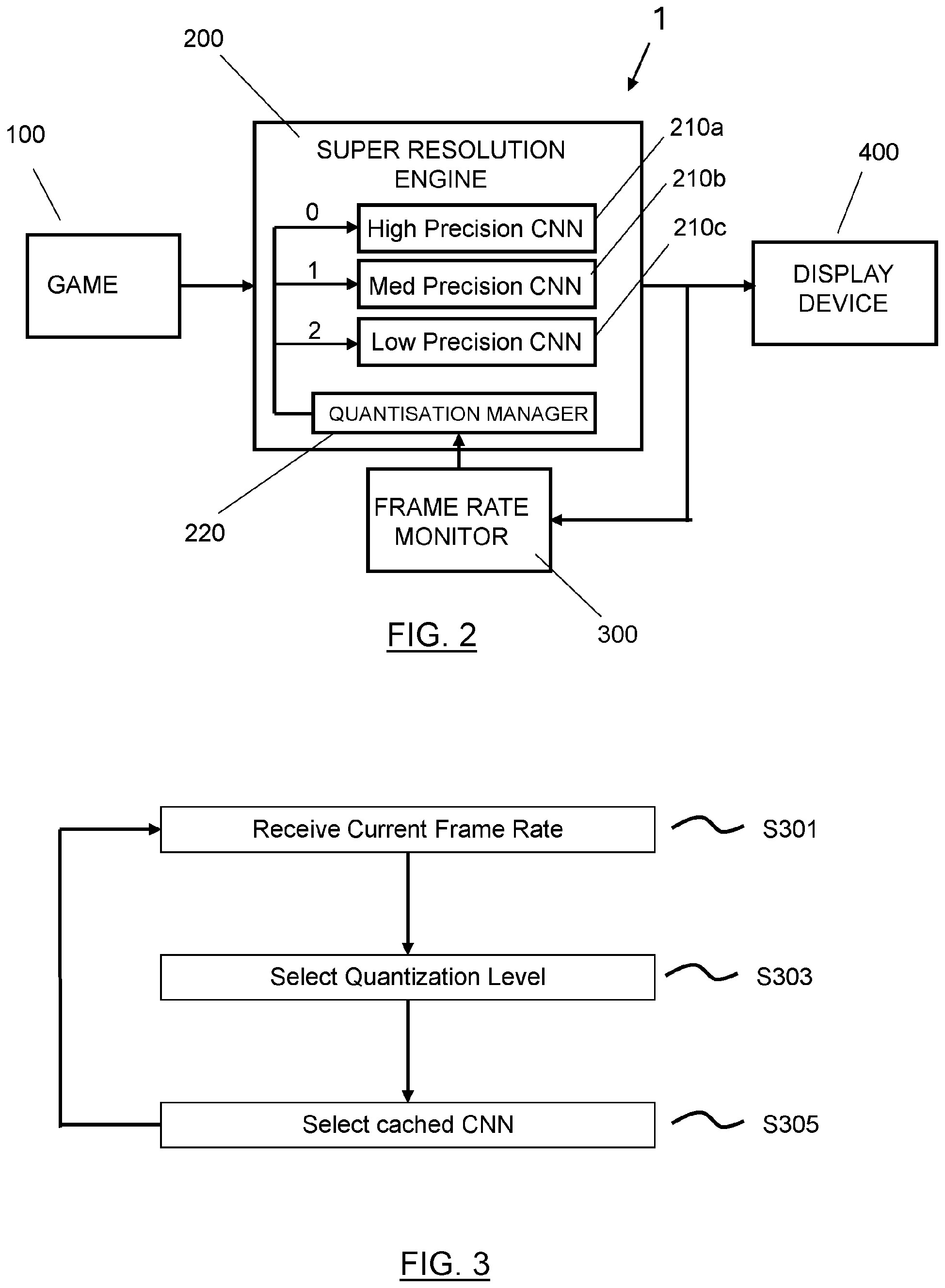
According to the patent, PSSR dynamically drops to lower CNN precision when frame rates dip, with minimal gameplay impact, then returns to full precision once performance stabilizes.
the accuracy of the ANN inference is reduced through a reduction of the precision of the weights and/or activations of the model. However, this reduction […] is acceptable in order to maintain a stable gaming experience (e.g. smooth perceived animation and maintained resolution) for the user.
Why it matters: By avoiding the drawbacks of dynamic internal resolution and frame rate drops during high GPU loads, upscalers would reduce or eliminate visual artifacts and other performance anomalies and feel even more natural to gamers.

Sony’s patent, called “GRAPHICS PROCESSING,” says developers would no longer have to drop their titles to lower internal resolutions to boost upscaler performance. Real-time quantization would just lower the precision of CNN weights when GPU load spikes.
Dynamically lightening the AI workload would enable higher internal resolutions and more consistent FPS. Sony claims current MFSR upscalers hurt FPS and visual quality under heavy load, especially in fast-paced games.
When an application or game has a high load point then the framerate of the MFSR graphics output can suffer, leading to a reduced quality experience for the user. This is particularly problematic in fast-paced games.

Sony’s PSSR improvement would make it a great contender against other options, as none of the mainstream upscalers rely on real-time quantization. Rather, current upscalers use only pre-trained, fixed-precision models.
Sony has previously patented several other unique concepts, such as one that aims to shrink the size of 100GB AAA games to just ~100MB by streaming assets, and another one that reveals a generative AI system to create personalized podcasts for gamers.
Do you think the new Sony patent will be materialized as one of the next big upgrades for PSSR? Let us know your thoughts in the comments below, or join the discussion on the Tech4Gamers forum.
Thank you! Please share your positive feedback. 🔋
How could we improve this post? Please Help us. 😔
Shameer Sarfaraz has previously worked for eXputer as a Senior News Writer for several years. Now with Tech4Gamers, he loves to devoutly keep up with the latest gaming and entertainment industries. He has a Bachelor’s Degree in Computer Science and years of experience reporting on games. Besides his passion for breaking news stories, Shahmeer loves spending his leisure time farming away in Stardew Valley. VGC, IGN, GameSpot, Game Rant, TheGamer, GamingBolt, The Verge, NME, Metro, Dot Esports, GameByte, Kotaku Australia, PC Gamer, and more have cited his articles.


